成品质检单列表字段添加 “返修数” 的显示
FNsku状态改为三种状态:在售、停售、已删除
样衣编码规则和款式编码规则,增加备用字段的可选项
增加系统配置项:
样衣/款式的备用字段【1,2,3】是否开启参与编码规则 。 启用。 禁用。
开启后,基础配置的样衣/款式编码规则可以配置扩展字段参与,且取扩展字段中的内容,如果配置了编码规则,不管是否配置扩展字段,都会提示配置/必填,扩展字段SELECT类型的可以在描述中配置【编码,值】为一组内容,编码规则可以取到编码,非SELECT类型的扩展字段,会直接去填写的内容
4. 选品页面增加图片导入功能 
1、图片限制500张
2、图片导入规则:按照图片后缀【供应商编码+供应商款号+扩展字段】匹配
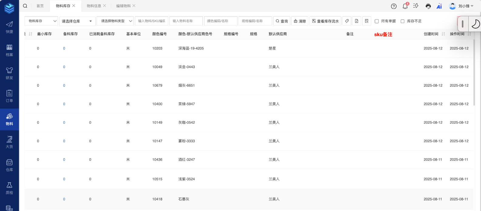
5. 物料库存界面增加sku维度备注字段 
6. 收付款单状态筛选

7. 采购调价单单据选择界面增加筛选项:供应商

8. 核价单锁定后再同步款式的财务成本价
通用默认值Key:BomLockToFinancePrice
开启默认值:保存核价单的时候不在同步款式的财务成本价,只有在锁定的时候再触发同步
9. 销售订单新增复制粘贴功能

10. 成品采购需求和外发加工需求,在“高级查询”页面增加跟单员的查询条件

11. 生成采购需求时,同一物料编号下物料规格颜色排序

12. 颜色新建,不能录入重复项;或者新建相同颜色名称有提醒

通用默认值:MT_COMMON_CHECK_PURE_CHAR_EQUAL
颜色新建,不能录入重复项;或者新建相同颜色名称,校验纯字符一致性(去空格);当有特殊符号且不同,则判定为不一致;有特殊符号且一致则判定为一致
13. 在产前样质检页面中,增加筛选

14. 生产工单受供应商权限管控
增加一个系统配置项
生产工单是否受供应商权限控制 启用。 禁用。
默认关闭,开启后,生产工单界面受供应商权限的控制,默认关闭状态下不受控制,可查看所有;
开启配置后,界面增加供应商权限,否则保持现有逻辑
15. 领料单需支持批量反审核
在未开启领料锁的情况下 允许批量审核,反审核,结案,反结案
开启领料锁不允许批量操作
16. 款式信息新增 批量 同步“物料/成品 通用”按钮

17. 新增成本分摊费用的搜索条件

18. 订单需求增加一个外部单号,并且可以支持带到外发加工需求/成品采购需求和采购单

通用默认值
IsUpdateOrderApiCode
配置并开启默认值:订单需求的外部单号可自动带入到下游的【成品/外发】采购单中的外部单号,如果采购单存在多个订单需求,则默认取主列表展示的需求单号的外部单号